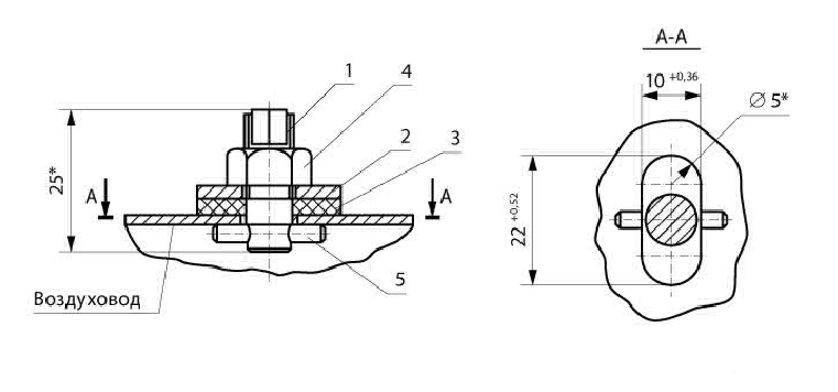
Питометражный лючок являет собой небольшую конструкцию в форме заглушки, поэтому их еще называют заглушкой питометражного лючка. Их предназначение состоит в создании необходимых условий для замеров параметров воздуха внутри вентиляционных каналов.
В отличии от других ревизионных или смотровых лючков, питометражные лючки имеют очень малый размер и предназначены только для измерений. Используя их будет невозможно почистить или осмотреть воздуховод.
Для того чтобы установить заглушку питометражного лючка стд 8281 необходимо просверлить отверстие в воздуховоде нужного диаметра. Наиболее часто используют отверстия диаметром 10 мм, но для полноценных замеров (статического давления, расхода и др.), то есть для того, чтобы через них можно было использовать разного типа приборы для замеров, их выполняют диаметрами 3, 10, 14 мм.
Далее в отверстие вставляют питометражный лючок, и завинчивают его.
Конструкция заглушки питометражного лючка стд 8281 с ниппелем предусматривает резиновую прокладку для обеспечения герметичного присоединения к воздуховоду.

Оставить заявку
Комментарии (0)